![]() |
As a way to introduce our brass coins to the community, we will raffle off a free coin during the month of August. Follow link ABOVE for instructions for entering. |
![]() |
![]() |
The beloved Ships in Scale Magazine is back and charting a new course for 2026! Discover new skills, new techniques, and new inspirations in every issue. NOTE THAT OUR NEXT ISSUE WILL BE MARCH/APRIL 2026 |
![]() |
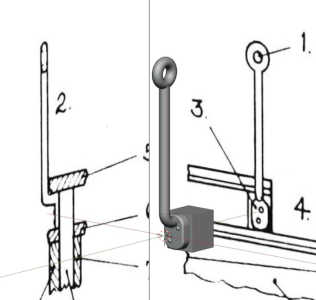
Thanks for the praise. Yes! eyebolt, "Enlarge 90 degrees" is incorrect in the anatomy! The cable passed through these holes and served as handrails. And since the cable runs along the deck, the holes should be positioned so that the cable doesn't zigzag at the bottom of the passage.Beautiful modelling, Sergey!
Question - isn't the eyebolt off by 90 degrees on this part?
View attachment 592697



s. I added three more types (sizes). Because, as I already said, there were at least 4 different anchors on the ship, and not two identical ones, as in the set.
Not a small amount of work ! Thanks for allowing us to have it !Friends, I've finally updated my original Alert anatomy drawings, which have been adapted to the Trident kit dimensions, which correspond to a 1:48 scale.
I previously presented this work, but since then I've made many significant changes, additions, and corrections to the anatomy.
The original can be downloaded from Google Drive. Below, I'll show you a sample of what's changed.
View attachment 592761
Blue - The ship had only one boat (a cutter). The second one shown in the anatomy has no relation whatsoever (neither to scale nor in dimensions). Besides, I've definitely seen this boat in another anatomy, line for line. In my drawings, I placed the boat above the central grating. Later, I'll add details of the boat's holding platform to the drawings.
Red - The mechanism for raising the anchor from the water. Even the original drawings and the anatomy itself mention a duplicate mechanism that helped raise the anchor's clevis. The photo below clearly shows this. This mechanism (the cathead) is described in detail in books, particularly in Wolfram zu Mondfeld. Few people do this, but the point is that this part is necessary for safely pulling the anchor alongside without damaging it. On larger ships, this was different and was called a fish davit (a massive beam that essentially served the same function).
Light Green - Rudder Hinges. I already mentioned that I increased the length of two of the rudder hinges so they would extend onto the planking, or more precisely, onto the beams underneath. This is also indicated in the anatomy drawings, but it wasn't used in the main view, which is a shame.
Dark Green - I added two types of cannons: 4- and 6-pounder. The ship carried 10 of the former until 1778, when it was re-armed with 12 6-pounder cannons.
Brown - I made corrections to the smokestack and handrails where there were errors in the anatomy.
Purple - Changed the scale.
Mustard (light brown) - I completely redesigned the central grate, as the anatomy doesn't include that specific type.
Light Blue -s. I added three more types (sizes). Because, as I already said, there were at least 4 different anchors on the ship, and not two identical ones, as in the set.
View attachment 592762
The drawings are printed on A0 paper (841 x 1189 mm), so if you print them at this size, you'll have the true dimensions of all the parts at a scale of 1:48.
If you have any questions or comments, please don't hesitate to contact me.
















Vielen Dank! Ich freue mich sehr über die freundlichen Worte, besonders von jemandem, der selbst hervorragende Modelle herstellt!Wieder eine fantastische Arbeit. Toll,daß wir daran teilhaben können. Da sieht man auch, was man aus einem sehr guten Bausatz als Basis machen kann. Eben ein fantastisches Modell. Bravo! Ich bewundere die Recherche dazu, die Hartnäckigkeit und Ausdauer mit den pfiffigen Ideen der Umsetzung. Mein allergrößter Respekt zu diesem Projekt.
Thank you very much for your activity and interest in my work.Not a small amount of work ! Thanks for allowing us to have it !





























Patience is a virtue . Keep in mind those of us following your build must also wait.One downside... I'll have to wait another month for the bulbs from AliExpress... it'll be interminable...
You could use the time to print and plate some gun port hinges for me...One downside... I'll have to wait another month for the bulbs from AliExpress... it'll be interminable...

Naturally, I won’t stand still (I have a lot to do), but light would be very appropriate now..... but let’s wait and see what to do.Patience is a virtue . Keep in mind those of us following your build must also wait.
Allan
Hahahaha, the most annoying thing is that I can't even print my own steering wheel hinges because it's so cold here. And when printing, the apartment needs to be ventilated because of the printing smell. It's all slowing me down, but I stubbornly move forward.You could use the time to print and plate some gun port hinges for me...![]()

I had left and right hinges printed for a 1695 ship as I did not want to make them by hand. I have the name of the printer guy if you want it. He did excellent work and was really inexpensive. They were only 1:64 scale but came out very well, including the bolt heads. Now for a little rant directed at those that say resin is not appropriate on a wooden ship model if it is to be of the highest quality and accurate. I used to be a naysayer about plastic and resin, but with fewer and fewer years left before turning to ash I would rather spend time on other things than filing metal hinges or turning or casting guns. Unless the metal cannon are cast iron or bronze as appropriate, I see no reason not to use resin. Metal guns are no more faithful to the real thing than resin unless they are cast in iron or bronze. There are very few guns seen on models that are the correct pattern or length but it is easily done with printed guns and accurate drawings that are readily available in many cases. Many forget or do not know a 9 foot English barrel was closer to 10 feet overall as the named length is not measured from one end to the other.You could use the time to print and plate some gun port hinges for me

rather spend time on other things than filing metal hinges
too late!








I definitely agree with you. I'm also all for using every opportunity to achieve the best possible result. Especially since you've seen that even plastic can be coated with metal, and then no one will be able to tell the difference. This is very useful for me, especially if there are a lot of parts and it takes forever to make them.I had left and right hinges printed for a 1695 ship as I did not want to make them by hand. I have the name of the printer guy if you want it. He did excellent work and was really inexpensive. They were only 1:64 scale but came out very well, including the bolt heads. Now for a little rant directed at those that say resin is not appropriate on a wooden ship model if it is to be of the highest quality and accurate. I used to be a naysayer about plastic and resin, but with fewer and fewer years left before turning to ash I would rather spend time on other things than filing metal hinges or turning or casting guns. Unless the metal cannon are cast iron or bronze as appropriate, I see no reason not to use resin. Metal guns are no more faithful to the real thing than resin unless they are cast in iron or bronze. There are very few guns seen on models that are the correct pattern or length but it is easily done with printed guns and accurate drawings that are readily available in many cases. Many forget or do not know a 9 foot English barrel was closer to 10 feet overall as the named length is not measured from one end to the other.
And so my little rant ends and my apology is extended for any offense this may cause.
Allan
Sorry for not having more clear pic where you can more easily see the hinges and bolt heads
View attachment 594710
It's never too late)))![]()
![]()
too late!

Thank you for your high rating. I'm glad you were impressed with the 3D modeling.Super interesting and informative Sergey. Freaking awesome modelling and print designs. Cheers Grant
Thank you. Yes, that's an option, but it's still darker than I'd like. The glue option makes a slight difference, but it's not noticeable enough.Looks great. If you drill the treenail holes then popa sharp pencil into it it will darken the rim. Then you can use a normall toothpick. Saves potentially making a mess with lots of graphite, which seems to get everywhere"

